Светильник светодиодный уличный Gauss 629536380 Avenue (80 Вт, 8000 лм, 5000 К, КСС "Д")
Уличные консольные светодиодные светильники Gauss модели Avenue предназначены для небытового использования.
Применяются для наружного освещения дворов, парковых аллей, прогулочных дорожек, придомовых территорий, автостоянок, площадей, улиц и дорог с малой и средней интенсивностью движения.
Являются энергоэффективной заменой аналогичных светильников типа РКУ и ЖКУ с лампами ДРЛ и МГЛ.

Размеры

Материалы и цвета
| Тип поверхности рассеивателя | прозрачный |
| Материал рассеивателя | поликарбонат |
| Цвет корпуса | Черный |
| Материал корпуса | алюминиевый сплав |
Технические характеристики
| Тип светильника | ДКУ |
| Диапазон рабочего напряжения, В | АС 190 - 250 |
| Номинальное напряжение, В | АС 230 |
| Номинальная частота тока, Гц | 50 - 60 |
| Источник света | светодиоды |
| Мощность светильника, Вт | 80 |
| Световой поток, лм | 8000 |
| Цветовая температура, К | 5000 |
| Цвет свечения | Холодный белый |
| Тип кривой силы света | Д |
| Угол рассеивания, градусов | 120 |
| Индекс цветопередачи Ra | >80 |
| Коэффициент мощности, не менее, cos ? | >0,9 |
| Диммируемость | нет |
| Защита от импульсных помех, кВ | 2 / 4 |
| Диаметр трубы оголовника кронштейна, мм | 40 - 50 |
| Диапазон рабочих температур, °C | -40... +45 |
| Степень защиты от пыли и влаги | IP65 |
| Климатическое исполнение и категория размещения | УХЛ1 |
| Класс энергоэффективности | А |
| Класс защиты от поражения электрическим током | I |
| Сечение подключаемых проводников, не менее, кв.мм | 0,75 |
| Срок службы, часов | 35000 |
| Вес изделия, кг | 1,01 |
Диаграмма кривых распределения светового потока

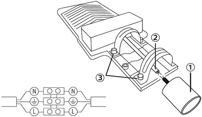
Монтаж и подключение
![]() |
|
Преимущества
- Доставка по всей России
- Более 200 000 товаров в ассортименте
- Профессиональная консультация
- Кабель БЕЗ опасности
- Качество по ГОСТу
|
Бренд
|
Gauss |
|
Высота, мм
|
57 |
|
Длина, мм
|
420 |
|
Мощность, Вт
|
80 |
|
Световой поток, лм
|
8000 |
|
СрокГарантии, мес
|
24 |
|
Мощность лампы/светильника, Вт
|
80 |
|
Номинальное напряжение, В
|
220 |
|
Подходит для посадочного размера
|
50 |
|
Серия
|
Avenue КСС "Д" |
|
Тип светильника
|
ДКУ |
|
Ширина, мм
|
160 |
|
Цоколь (патрон) лампы
|
Нет (без) |
-
Зайдите на страницу товара и нажмите на кнопку «В корзину».
Далее можно продолжить покупки или перейти к оформлению заказа.
-
Перейдите в Корзину и нажмите «Перейти к оформлению».
Можно авторизоваться или оформить заказ без регистрации. Зарегистрированные пользователи могут:
- Отслеживать статус заказа
- Получать спецпредложения и промокоды на дополнительные скидки
- Укажите Ваши контакты: ФИО, телефон и e-mail.
- Выберите способ получения заказа (доставка или пункт самовывоза) и способ оплаты.
- Далее «Оформить заказ».
Готово: ваш заказ создан! По электронной почте или в личном кабинете Вы можете отслеживать статус заказа.
Теперь останется только ждать доставки и радоваться новой покупке!
Оплачивайте покупки удобным способом.
В нашем интернет-магазине доступно 3 варианта оплаты:
- Оплата наличными или картой при самовывозе в пункте выдачи заказов/магазине.
- Онлайн-оплата на сайте при оформлении заказа. Для совершения покупки система перенаправит вас на страницу платежного сервиса. Здесь необходимо заполнить форму по инструкции.
- Оплата по счету для юридических лиц. Оплата происходит после предоставления реквизитов для выставления счета. Покупатель получает счет на указанный e-mail.
Доступно 3 варианта доставки:
- Самовывоз из магазина. Список торговых точек для выбора появится в корзине. Для получения заказа обратитесь к сотруднику в кассовой зоне и назовите номер заказа.
- Доставка транспортной компанией СДЭК или Почтой РФ в отделение или постамат.
По всем возникающим вопросам можете позвонить нам на горячую линию:
Ежедневно с 8:00 до 20:00 по МСК
E-mail: help@kristall43.ru
Адрес: 610000, г. Киров, ул. Щорса, 68г, кабинет 3
