Прожектор светодиодный IEK СДО 07-100 IP65 (100 Вт, 220 В, 9000 лм, SMD), цвет свечения холодный белый
Светодиодные прожекторы IEK серии СДО мощностью 100 Вт предназначены для наружного и ландшафтного освещения зданий, сооружений, складских объектов, площадей, парков, автостоянок, рекламных стендов, скульптур, памятников, стадионов, а также для декоративной подсветки фасадов зданий и объектов, требующих высокомощной подсветки.
Светодиодные прожекторы являются энергоэффективной заменой галогенных прожекторов.
Соответствуют ГОСТ Р МЭК 60598-1, ГОСТ 17516, ГОСТ 14254.

Преимущества
- Высокая светоотдача.
- Экономия электроэнергии.
- Компактный корпус с эффективным теплоотводом.
- Высокая механическая прочность.
- Полная защита от пыли и влаги (степень защиты IP65).
- Легкий монтаж.
- Длительный срок службы.
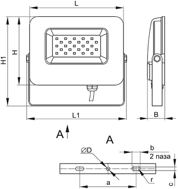
Размеры

| Размеры, мм | ||||
|---|---|---|---|---|
| H | H1 | L | L1 | B |
| 224 | 264 | 300 | 320 | 38 |
| D | a | b | c | r |
| 10,5 | 155 | 20,5 | 10,5 | 5,25 |
Материалы и цвета
| Тип поверхности рассеивателя | прозрачный |
| Материал рассеивателя | стекло |
| Цвет отражателя (рефлектора) | Белый |
| Цвет корпуса | Серый |
| Материал корпуса | алюминиевый сплав |
Технические характеристики
| Артикул | LPDO701-100-K03 |
| Диапазон рабочего напряжения, В | АС 180 - 265 |
| Номинальное напряжение, В | 230 |
| Частота сети, Гц | 50 / 60 |
| Источник света | 108 светодиодов SMD |
| Тип пускорегулируюшего аппарата (ПРА) | светодиодный драйвер |
| Номинальная мощность, Вт | 100 |
| Ток, потребляемый из сети, А | 0,48 |
| Пусковой ток, А | 0,35 |
| Длительность пусковых токов, мкс. | 20 |
| Световой поток, лм | 9000 |
| Цветовая температура, К | 6500 |
| Цвет свечения | Холодный белый |
| Индекс цветопередачи, Ra, не менее | 70 |
| Тип кривой силы света | Д |
| Габаритная яркость, кд/кв.м | 41850 |
| Коэффициент мощности, не менее | 0,9 |
| Угол рассеивания, градусов | 100 |
| Угол светового излучения | широкий световой пучок |
| Минимальное расстояние до освещаемого объекта, м | 1,0 |
| Диапазон рабочих температур, °С | -40... +50 |
| Относительная влажность воздуха при +25°С, % | 98 |
| Степень защиты от пыли и влаги по ГОСТ 14254 | IP65 |
| Класс защиты от поражения электрическим током | I |
| Класс энергоэффективности | А |
| Способ крепления на поверхность | монтажной скобой |
| Вес изделия, кг | 1,7 |
| Срок службы, часов | 50000 |
Монтаж и подключение
- Монтаж прожектора производится путем крепления скобы на монтажную поверхность при помощи двух крепежных элементов (анкеры, болты или шпильки с гайками, плоскими и пружинными шайбами - в комплект не входят).
- Подключение светильника к сети должно производиться при помощи разъема или монтажной коробки, степень защиты от пыли и влаги которых не ниже заявленной у светильника.
Концы сетевого кабеля, выведенного из прожектора, подключить согласно цветовой маркировке:
L (коричневый провод) - фаза, N (синий провод) - нейтраль,
(желто-зеленый провод) - защитный проводник PE.
Преимущества
- Доставка по всей России
- Более 200 000 товаров в ассортименте
- Профессиональная консультация
- Кабель БЕЗ опасности
- Качество по ГОСТу
|
Бренд
|
IEK |
|
Высота, мм
|
61 |
|
Длина, мм
|
285 |
|
Мощность, Вт
|
100 |
|
Защита от удара мячом
|
Да |
|
Напряжение, В
|
220 |
|
Световой поток, лм
|
9000 |
|
СрокГарантии, мес
|
24 |
|
ПРА в комплекте
|
Да |
|
С лампой в комплекте
|
Да |
|
С монтажной скобой
|
Да |
|
Способ монтажа
|
Накладной на поверхность |
|
Серия
|
SMD |
|
Угол светового пучка
|
4dcb042c-f908-11ec-a4f9-00155da43c00 |
|
Ширина, мм
|
235 |
-
Зайдите на страницу товара и нажмите на кнопку «В корзину».
Далее можно продолжить покупки или перейти к оформлению заказа.
-
Перейдите в Корзину и нажмите «Перейти к оформлению».
Можно авторизоваться или оформить заказ без регистрации. Зарегистрированные пользователи могут:
- Отслеживать статус заказа
- Получать спецпредложения и промокоды на дополнительные скидки
- Укажите Ваши контакты: ФИО, телефон и e-mail.
- Выберите способ получения заказа (доставка или пункт самовывоза) и способ оплаты.
- Далее «Оформить заказ».
Готово: ваш заказ создан! По электронной почте или в личном кабинете Вы можете отслеживать статус заказа.
Теперь останется только ждать доставки и радоваться новой покупке!
Оплачивайте покупки удобным способом.
В нашем интернет-магазине доступно 3 варианта оплаты:
- Оплата наличными или картой при самовывозе в пункте выдачи заказов/магазине.
- Онлайн-оплата на сайте при оформлении заказа. Для совершения покупки система перенаправит вас на страницу платежного сервиса. Здесь необходимо заполнить форму по инструкции.
- Оплата по счету для юридических лиц. Оплата происходит после предоставления реквизитов для выставления счета. Покупатель получает счет на указанный e-mail.
Доступно 3 варианта доставки:
- Самовывоз из магазина. Список торговых точек для выбора появится в корзине. Для получения заказа обратитесь к сотруднику в кассовой зоне и назовите номер заказа.
- Доставка транспортной компанией СДЭК или Почтой РФ в отделение или постамат.
По всем возникающим вопросам можете позвонить нам на горячую линию:
Ежедневно с 8:00 до 20:00 по МСК
E-mail: help@kristall43.ru
Адрес: 610000, г. Киров, ул. Щорса, 68г, кабинет 3
(желто-зеленый провод) - защитный проводник PE.